| Nikon, °î¸é ¼¾¼ ´ëÀÀ ·»Á °³¹ß | | 2016³â 06¿ù 15ÀÏ 10:51 |
| http://blog.photovill.com//88455 | |
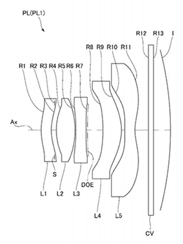
![]() ¹Ì·¯¸®½º·ç¸Ó½º¿¡ °ÔÀçµÈ Nikon °î¸éÇü ¼¾¼ ´ëÀÀ ·»Áî Æ¯Çã¿¡ °üÇÑ Á¤º¸°¡ °ø°³µÇ¾ú´Ù. ÀÌÀüºÎÅÍ ¼Ò´Ï¿¡¼ °î¸éÇü ¼¾¼¿¡ °üÇÑ Æ¯Çã°¡ ÀÖ¾î ¿Ô´Âµ¥ ÀÌ ±â¼úÀÌ ´ÏÄÜ Á¦Ç°¿¡µµ Àû¿ëµÉ µí º¸ÀδÙ. NikonÀÇ °î¸éÇü ¼¾¼ ´ëÀÀ ·»Áî Æ¯Çã°¡ ÀÖ´Ù. °î¸é Çü ¼¾¼´Â ´ÙÀ½°ú °°Àº ÀåÁ¡ÀÌ ÀÖ´Ù. ½ÇÁ¦ Á¦Ç°¿¡ ä¿ë µÈ´Ù¸é ·»Áî °íÁ¤½Ä Ä«¸Þ¶ó¿¡ Àû¿ëµÉ °ÍÀ¸·Î ±â´ëÇϰí ÀÖ´Ù. - ·»Á º¸´Ù ÄÄÆÑÆ®ÇÏ°Ô ¼³°è °¡´É - ¼Ò´Ï¿¡ ÀÇÇÏ¸é °î¸é ¼¾¼¿ë ·»Áî´Â 1 ´Ü ºÐÀÇ ÀÌÁ¡ÀÌ ÀÖ´Ù - ±¸¼®ºÎ ÈÁú ÀúÇÏ ¹æÁö |
|
| ÄÚ¸àÆ® | °ü·Ã±Û | ½ºÅ©·¦(0) | ¼öÁ¤ | »èÁ¦ |
| Lenovo, ÃÖÃÊÀÇ ÅÊ°í Æù ¡®ÆÐºê 2 ÇÁ·Î¡¯ | | 2016³â 06¿ù 15ÀÏ 10:47 |
| http://blog.photovill.com//88454 | |
![]() Lenovo´Â Å×Å© ¿ùµå ÄÁÆÛ·±½º¿¡¼ ÃÖÃÊÀÇ ÅÊ°í Æù ¡®ÆÐºê 2 ÇÁ·Î¡¯¸¦ °ø½Ä ¹ßÇ¥Çß´Ù. ÀÌ ÆùÀº Áõ°Çö½Ç °æÇè¿¡ Æ¯ÈµÈ Á¦Ç°À¸·Î, ·¹³ëº¸´Â ARÀÌ Â÷±â GPS°¡ µÉ °ÍÀ̶ó°í ¸»Çß´Ù. ÆÐºê 2 ÇÁ·Î´Â 6.4ÀÎÄ¡ QHD IPS µð½ºÇ÷¹ÀÌ, 8¸Þ°¡Çȼ¿ ¼¿ÇÇ Ä«¸Þ¶ó ¹× ½Éµµ Ä«¸Þ¶ó¿Í ¸ð¼Ç Æ®·¡Å· Ä«¸Þ¶ó¿Í ÇÔ²² 16¸Þ°¡Çȼ¿ ¸ÞÀÎ Ä«¸Þ¶ó, Áö¹®ÀÎ½Ä ¼¾¼, 4050mAh ¹èÅ͸®, ½º³Àµå·¡°ï 652 ÇÁ·Î¼¼¼ µîÀ» Á¦°øÇÑ´Ù. |
|
| ÄÚ¸àÆ® | °ü·Ã±Û | ½ºÅ©·¦(0) | ¼öÁ¤ | »èÁ¦ |
| Lenovo, ¸ðÅä Z¿Í Z Æ÷½º ½º¸¶Æ®Æù | | 2016³â 06¿ù 15ÀÏ 10:46 |
| http://blog.photovill.com//88453 | |
![]() Lenovo°¡ ¸ðÅä ½Ã¸®ÁîÀÇ Ç÷¡±×½Ê ¸ðµ¨ÀÎ ¸ðÅä ¿Í Z Æ÷½º¸¦ ¹ßÇ¥Çß½À´Ï´Ù. ÀüÀÚ´Â ¾ãÀº ÆùÀ̰í ÈÄÀÚ´Â ¹èÅ͸®°¡ ¸¹À¸¸ç ShatterShield ½ºÅ©¸° ±â¼úÀÌ Å¾ÀçµÈ ¹öÀüÀÔ´Ï´Ù. ¸ðÅä Z´Â 5.2mmÀ̸ç 5.5ÀÎÄ¡ QHD ¾Æ¸ô·¹µå ½ºÅ©¸°, ½º³À 820, ·¥ 4±â°¡, 32/64±â°¡ ³»Àå ¸Þ¸ð¸® , SD Ä«µå ½½·Ô žÀç, 13MP Èĸé Ä«¸Þ¶ó, 5MP Àü¸éÄ«¸Þ¶ó, 2,600mAh ¹èÅ͸® , ÄüÂ÷Áö , USB-C ŸÀÔ, Áö¹®ÀÎ½Ä ¼¾¼ žÀçÀÇ ½ºÆåÀÔ´Ï´Ù. Z Æ÷½º´Â 6.99mm 3,500mAh ¹èÅ͸®, 21MP Èĸé Ä«¸Þ¶óÀÔ´Ï´Ù. µÎ ¹öÀü ¸ðµÎ ÇìµåÆù ÀèÀÌ ¾ø½À´Ï´Ù. º¯È¯ÀèÀÌ ¹Ú½º¿¡ Æ÷ÇԵȴÙ. µÎ ¹öÀüÀº ¹ö¶óÀÌÁð¿¡¼ ¿©¸§¿¡ µ¶Á¡ °ø°³µÇ¸ç °¡À»¿¡ ´Ù¸¥ °÷¿¡¼µµ Ãâ½ÃµË´Ï´Ù. ¶ÇÇÑ ¸ðÅä Z ½Ã¸®Áî´Â ¸ðµâÀÌ Áö¿øµË´Ï´Ù. JBL »ç¿îµå ºÎ½ºÆ®, ÀνºÅ¸½¦¾î ÇÁ·ÎÁ§ÅÍ, ÆÄ¿öÆÑ, ½ºÅ¸ÀϽ¯ µî 4Á¾·ù |
|
| ÄÚ¸àÆ® | °ü·Ã±Û | ½ºÅ©·¦(0) | ¼öÁ¤ | »èÁ¦ |
| | ... [2961] [2962] [2963] 2964 [2965] [2966] [2967] [2968] [2969] [2970] ... | | |