Canon, °î¸é¼¾¼­ ƯÇã Ãâ¿ø | 2016³â 04¿ù 01ÀÏ 14:40
http://blog.photovill.com//87559

1.jpg


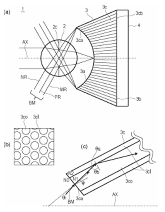
Ä«¸Þ¶ó ±â¼ú °ü·Ã Á¤º¸ »çÀÌÆ® egami.blog.so-net.ne.jp¿¡ Canon °î¸é¼¾¼­ ƯÇã¿¡ °üÇÑ Á¤º¸°¡ °ÔÀçµÇ¾ú´Ù. °î¸é ¼¾¼­¿¡ °üÇÑ ±¤ÇÐ°è ¹× Á¦Á¶ ¹æ¹ý ƯÇã´Â ¼Ò´Ï ¹× ÄÚ´ÏÄ« ¹Ì³îŸ¿¡¼­ Ãâ¿øµÈ ¹Ù Àִµ¥ Canonµµ ÀÌ ±â¼ú¿¡ °ü½ÉÀÌ ÀÖ¾î¿Â °ÍÀ¸·Î ÃßÁ¤µÈ´Ù. CanonÀÇ Æ¯Çã Ãâ¿øÀº °î¸é ¼¾¼­Àε¥ ¼¾¼­ ÀÚü¸¦ °î¸éÈ­ ½ÃŰ´Â °ÍÀÌ ¾Æ´Ï¶ó ±¤¼¶À¯¸¦ ÀÌ¿ëÇÏ¿© ¿À¸ñÇÑ ÇüÅ·Π½ÇÇö½ÃŰ´Â ±â¼ú·Î¼­ ¼Ò´Ï°¡ ³»³õÀº ¹æ½Ä°ú´Â ´Ù¸£´Ù.

* CanonÀÇ °î¸é¼¾¼­ ƯÇã
-±¤¼¶À¯¸¦ ÀÌ¿ëÇØ ÀԻ籤À» ¼¾¼­¿¡ Àεµ
-±¤¼¶À¯ÀÇ ÀÔ»ç¸éÀº ¿À¸ñÇÑ ÇüÅÂ
-ÀÔ»çÇÑ ºûÀÌ ±¤¼¶À¯ ³»¿¡ Àü¹Ý»çÇÏ¿© ¼¾¼­¿¡ Àü´ÞÇϵµ·Ï ±¤¼¶À¯ÀÇ °¢µµ¸¦ ¼³Á¤
ÄÚ¸àÆ® | °ü·Ã±Û ½ºÅ©·¦(0) | ¼öÁ¤ | »èÁ¦
LGÀ̳ëÅØ, À¯¼± ÃæÀüó·³ ºü¸£°í °­·ÂÇÑ ½º¸¶Æ®Æù ¹«¼±ÃæÀü±â ³ª¿Â´Ù | 2016³â 04¿ù 01ÀÏ 14:16
http://blog.photovill.com//87558

1.jpg

À¯¼± ÃæÀü±â¿Í µ¿±Þ ¼º´ÉÀ» ±¸ÇöÇÏ´Â ½º¸¶Æ®Æù¿ë ¹«¼±ÃæÀü ¼Û½Å¸ðµâÀÌ °³¹ßµÆ´Ù. ÃæÀü½Ã°£À» ´ÜÃàÇÏ°í ´Ù¾çÇÑ ÃæÀü ±Ô°Ý°ú ȣȯ °¡´ÉÇØ ÆíÀǼºÀ» ÇÑÃþ ³ô¿´´Ù.
 
LGÀ̳ëÅØ(´ëÇ¥ ¹ÚÁ¾¼®, 011070)Àº À¯¼± ÃæÀü±â¿Í µ¿ÀÏÇÑ ¾çÀÇ Àü·ÂÀ» °ø±ÞÇÒ ¼ö ÀÖ´Â 15¿ÍÆ®(W) ¹«¼±ÃæÀü ¼Û½Å¸ðµâÀ» °³¹ßÇß´Ù°í ¹àÇû´Ù.
 
¹«¼±ÃæÀü ÀåÄ¡´Â ¼Û½ÅºÎ¿Í ¼ö½ÅºÎ·Î ±¸¼ºµÈ´Ù. ¼Û½ÅºÎ´Â ÃæÀüÆÐµå³ª °ÅÄ¡´ë µîÀÇ ÇüÅ·Π½º¸¶Æ®Æù¿¡ Àü·ÂÀ» °ø±ÞÇÑ´Ù. ¼ö½ÅºÎ´Â ½º¸¶Æ®Æù¿¡ ³»ÀåµÇ¾î ¼Û½ÅºÎ¿Í ¹ÝÀÀÀ¸·Î À¯µµÀü·ù¸¦ ¹ß»ý½ÃÄÑ ÃæÀüÇÑ´Ù.
 
¡à ¹«¼±ÃæÀü ¼Óµµ, ȣȯ¼º, È®À强 ¾÷±×·¹À̵å
 
LGÀ̳ëÅØÀº À̹ø 15W ¹«¼±ÃæÀü ¼Û½Å¸ðµâÀ» ÅëÇØ ÃæÀü ¼Óµµ °­È­¿Í ȣȯ¼º, È®À强À» ÇÑÃþ ¾÷±×·¹À̵åÇß´Ù.
 
15W ¹«¼±ÃæÀü ¼Û½Å¸ðµâÀº ¿ÏÀü ¹æÀü »óÅ¿¡¼­ 30ºÐ¸¸¿¡ 50% ÃæÀü °¡´ÉÇÏ´Ù. À¯¼± ±Þ¼Ó ÃæÀü±â¿Í µ¿ÀÏÇÑ ¼º´ÉÀÌ´Ù. ±âÁ¸ 5W ¹«¼±ÃæÀü¸ðµâ ´ëºñ 3¹è ºü¸£´Ù.
 
¶ÇÇÑ ÀÌ Á¦Ç°Àº ´Ù¾çÇÑ ¹«¼±ÃæÀü ±Ô°ÝÀ» °®Ãç ȣȯ¼ºÀÌ ¶Ù¾î³ª´Ù. »ó¿ëÈ­µÈ ´ëºÎºÐÀÇ ½º¸¶Æ®Æù¿¡ »ç¿ëÇÒ ¼ö ÀÖ´Ù. WPC(Wireless Power Consortium) 15W, PMA(Power Matters Alliance) 5W¿Í ÇÔ²² ÃÖ±Ù º¸±ÞµÈ 9W ¼ö½Å¸ðµâ°úµµ ¿¬µ¿µÈ´Ù. ¹«¼±ÃæÀü ±¹Á¦ Ç¥ÁØÈ­ ´ÜüÀÎ ¼¼°è¹«¼±Àü·ÂÇùȸ(WPC)¿Í ¿¡¾îÇ»¾ó ¾ó¶óÀ̾ð½º(AirFuel Alliance)ÀÇ ±âÁØÀ» ¸ðµÎ ÁؼöÇØ¼­´Ù.
 
LGÀ̳ëÅØ 15W ¹«¼±ÃæÀü ¼Û½Å¸ðµâÀº °¡Á¤À̳ª »ç¹«½Ç¿¡¼­ »ç¿ëÇÏ´Â ¹«¼± ÃæÀü±â»Ó ¾Æ´Ï¶ó ÀÚµ¿Â÷ ³»ÀåÇü ¹«¼±ÃæÀü ÆÐµå¿¡µµ »ç¿ëÇÒ ¼ö ÀÖ´Ù. ÀÌ È¸»ç´Â Àü·Â¹ÝµµÃ¼ ¸ÞÀÌÀú Ĩ¼Â ¾÷ü¿Í Àü·«Àû Çù·ÂÀ» ÅëÇØ Â÷·® ÀüÀåºÎǰ ¼öÁØ Ç°ÁúÀ» È®º¸Çß´Ù.
 
¡à ÇÙ½É ±â¼ú À¶•º¹ÇÕÀ¸·Î Á¦Ç° °æÀï·Â È®º¸, Àü °øÁ¤ ³»ÀçÈ­
 
LGÀ̳ëÅØÀº ¹«¼±ÃæÀü¸ðµâ ½ÃÀåÀ» ¼±µµÇؿ ±â¼ú·Â°ú IT ºÐ¾ß ¼ÒÀçºÎǰ»ç¾÷ ¿ª·®À» ±â¹ÝÀ¸·Î 15W ¹«¼±ÃæÀü ¼Û½Å¸ðµâ °³¹ß¿¡ ¼º°øÇß´Ù. ÀÌ È¸»çÀÇ ¹«¼±Åë½Å, ÆÄ¿öȸ·Î¼³°è, ½Å¼ÒÀç ±â¼úÀÌ ÇÙ½ÉÀÌ´Ù.
 
ÀÌ È¸»ç´Â 2012³â ±¸±Û ³Ø¼­½º 4¸¦ ½ÃÀÛÀ¸·Î LGÀüÀÚ, ¸ðÅä·Î¶ó, ±³¼¼¶ó µî ±Û·Î¹ú ÈÞ´ëÆù ¾÷ü¿¡ ¹«¼±ÃæÀü ¼ö½Å¸ðµâÀ» °ø±ÞÇØ¿Ô´Ù. Áö³­ÇØ¿¡´Â ÃæÀüÈ¿À² 70%¸¦ µ¹ÆÄÇÑ 5W±Þ ¼Û½Å¸ðµâÀ» ¼±º¸À̸ç ÁÖ¸ñ ¹Þ¾Ò´Ù.
 
ÀÌ¿Í ÇÔ²² LGÀ̳ëÅØÀº ÇÙ½É ±â¼úÀ» À¶•º¹ÇÕÇØ ¹«¼±ÃæÀü ¼ÒÀç °³¹ßºÎÅÍ ¸ðµâ ¼³°è ¹× »ý»ê¿¡ À̸£´Â Àü °øÁ¤À» ³»ÀçÈ­ Çß´Ù. °í°´ ¿ä±¸¿¡ ÃÖÀûÈ­ÇÑ Á¦Á¶ÀÚ°³¹ß»ý»ê(ODM, Original Development Manufacturing)ÀÌ °¡´ÉÇÑ ÀÌÀ¯´Ù.
 
LGÀ̳ëÅØÀº °¡Á¤À̳ª »ç¹«½ÇÀ» Áß½ÉÀ¸·Î Çü¼ºµÈ ¹«¼±ÃæÀü ½ÃÀåÀÌ Â÷·®, °ø°øÀå¼Ò µîÀ¸·Î È®´ëµÉ °ÍÀ¸·Î º¸°í Àû±Ø ´ëÀÀÇØ ³ª°¥ ¹æÄ§ÀÌ´Ù. ÀÌ È¸»ç´Â ÀÌ¹Ì Áö³­ÇØ 6¿ùºÎÅÍ ±Û·Î¹ú ÀÚµ¿Â÷ ¾÷ü¿¡ ¹«¼±ÃæÀü¸ðµâÀ» °ø±ÞÇϰí ÀÖ´Ù.
 
¹Ú±æ»ó ÀüÀåºÎǰ¿¬±¸¼ÒÀå(»ó¹«)Àº ¡°°í°´ÀÇ ´ÏÁî¿Í ½ÃÀå º¯È­¿¡ ÇÑ¹ß ¾Õ¼­ Àû±Ø ´ëÀÀÇÑ °á°ú 15W ¹«¼±ÃæÀü ¼Û½Å¸ðµâ °³¹ß¿¡ ¼º°øÇÏ°Ô µÆ´Ù¡±¸ç ¡°°í°´ °¡Ä¡ âÃâ¿¡ ¸ðµç ¿ª·®À» ÁýÁßÇÏ¿© °í°´¿¡°Ô Æí¸®ÇÏ°í ¾ÈÀüÇϸç Áñ°Å¿î °æÇèÀ» Á¦°øÇØ ³ª°¥ °Í¡±À̶ó°í ¸»Çß´Ù.
ÄÚ¸àÆ® | °ü·Ã±Û ½ºÅ©·¦(0) | ¼öÁ¤ | »èÁ¦
LGÀ¯Ç÷¯½º, G5 & ÇÁ·»Áî Ãâ½Ã | 2016³â 04¿ù 01ÀÏ 14:14
http://blog.photovill.com//87557

1.jpg

LGÀ¯Ç÷¯½º(´ëÇ¥ÀÌ»ç ±Ç¿µ¼ö ºÎȸÀå)´Â LGÀüÀÚÀÇ ÃֽŠÇÁ¸®¹Ì¾ö ½º¸¶Æ®Æù ¡®G5(LG-F700L)¡¯¸¦ Àü±¹ LGÀ¯Ç÷¯½º ¸ÅÀå°ú ȨÆäÀÌÁö¿¡¼­ 31ÀϺÎÅÍ ÆÇ¸Å¸¦ ½ÃÀÛÇÑ´Ù.
 
LGÀ¯Ç÷¯½º´Â G5¿Í ÇÁ·»Á Á÷Á¢ ¸¸Á®º¸°í °æÇèÇØº¼ ¼ö Àִ üÇèÁ¸À» Àü±¹ 320¿©°³ ¸ÅÀå¿¡ ¿î¿µ ÁßÀÌ´Ù. üÇèÁ¸¿¡¼­´Â Ä· Ç÷¯½º, ÇÏÀÌÆÄÀÌ Ç÷¯½º¸¦ Á÷Á¢ ÀåÂøÇØº¼ ¼ö ÀÖÀ¸¸ç 360 VR·Î µ¿¿µ»óÀ» °¨»óÇÒ ¼ö ÀÖ´Ù.
 
G5Ãâ½Ã¸¦ ¸ÂÀÌÇÏ¿© LGÀ¯Ç÷¯½º´Â SNSÀÎÁõ À̺¥Æ®, ¡®LTEºñµð¿ÀÆ÷ÅС¯ Ã⼮üũ À̺¥Æ® µî ´Ù¾çÇÑ Çà»ç¸¦ ÁغñÇß´Ù. G5üÇèÁ¸ ÀÎÁõ À̺¥Æ®´Â 4¿ù 15ÀϱîÁö ÁøÇàµÇ¸ç Âü¿© ¹æ¹ýÀº LGÀ¯Ç÷¯½º G5 ¸ÅÀå üÇèÁ¸¿¡ ¹æ¹®ÇØ ÀÎÁõ»çÁøÀ» ÂïÀº ´ÙÀ½ ¡®#G5À¯ÇõæÅÛ¡¯ ÇØ½Ãű׸¦ ºÙ¿© SNS¿¡ ¾÷·ÎµåÇϰí À̺¥Æ® ÆäÀÌÁö(https://www.upluslte.co.kr)¿¡ ÀÀ¸ðÇÏ¸é µÈ´Ù.
 
À̺¥Æ®¿¡ ´ç÷µÈ °í°´¿¡°Ô´Â ¡ãG5 + ÇÁ·»Áî 5Á¾(1¸í) ¡ãLG G5(5¸í) ¡ã¹ð¾Ø¿ï·ì½¼ ¹Ì´Ï BT ½ºÇÇÄ¿(10¸í) ¡ã¿µÈ­¿¹¸Å±Ç 2¸Å(100¸í) ¡ã½ºÅ¸¹÷½º ¾ÆÀ̽º ¾Æ¸Þ¸®Ä«³ë(200¸í) µîÀÇ ÇªÁüÇÑ ¼±¹°À» ÁØ´Ù.
 
¼¼»óÀÇ ¸ðµç ºñµð¿À¸¦ Áñ±æ ¼ö ÀÖ´Â ¡®LTEºñµð¿ÀÆ÷ÅС¯¿¡¼­µµ G5 À̺¥Æ®¸¦ ÁøÇàÇÑ´Ù. G5¸¦ ¡®New À½¼º¹«ÇÑVideo µ¥ÀÌÅÍ¡¯ ¿ä±ÝÁ¦·Î °¡ÀÔÇÑ °í°´¿¡°Ô´ÂVOD 1¸¸¿ø »óǰ±ÇÀ» ¸ÅÀå¿¡¼­ Á¦°øÇÑ´Ù. ¶ÇÇÑ ¡®LTEºñµð¿ÀÆ÷ÅС¯¿¡¼­ ¡®G5 Ã⼮üũ À̺¥Æ® ¹è³Ê¡¯¸¦ Ŭ¸¯ÇÏ¸é ¡ã5ÀÏ Ãâ¼® ½Ã 360 VR & 360Ä· (1¸í) ¡ã3ÀÏ Ãâ¼® ½Ã 360 VR (20¸í) ¡ã1ÀÏ Ãâ¼® ½Ã ºñµð¿ÀÆ÷ÅÐ VOD 5õ¿ø±Ç(500¸í) À» Ãß÷À» ÅëÇØ ¼±¹°ÇÑ´Ù.
 
¿©±â¿¡ 4¿ù 30ÀϱîÁö G5¸¦ °³Åë ¿Ï·áÇÑ °í°´ Àü¿ø¿¡°Ô ±¸±Û Ç÷¹ÀÌ ½ºÅä¾î 2¸¸¿ø ±âÇÁÆ®Äܵµ Á¦°øÇÑ´Ù.
 
G5ÀÇ Ãâ°í°¡´Â 83¸¸6õ¿øÀÌ¸ç ¿ä±ÝÁ¦¿¡ µû¶ó 2¸¸¿ø´ë ¿ä±ÝÁ¦ÀÎ ¡®New À½¼º¹«ÇÑ 29.9¡¯ ¿ä±ÝÁ¦¿¡¼­´Â 7¸¸ 9000¿ø, 5¸¸¿ø´ë ¿ä±ÝÁ¦ÀÎ ¡®New À½¼º¹«ÇÑ 59.9¡¯ ¿ä±ÝÁ¦¿¡¼­´Â 15¸¸ 8000¿øÀ¸·Î °¢°¢ Áö¿ø±ÝÀÌ °áÁ¤µÆ´Ù. °ø½ÃÁö¿ø±Ý¿¡ ´ëÇÑ ÀÚ¼¼ÇÑ »çÇ×Àº 31ÀÏ LGÀ¯Ç÷¯½º ȨÆäÀÌÁö (http://www.uplus.co.kr)¿¡¼­ È®ÀÎÇÒ ¼ö ÀÖ´Ù.
 
G5´Â ¡®HŬ·´¡¯À¸·Î ºÎ´ã ¾øÀÌ Áñ±æ ¼ö ÀÖ´Ù. HŬ·´Àº ÇҺοø±ÝÀÇ 50%¸¦ 18°³¿ùµ¿¾È ³³ºÎ(30°³¿ù ÇҺΠ±âÁØ)ÇÏ¸é ³²Àº ÇҺοø±Ý 50%¿Í Áß°íÆù ½Ã¼¼ÀÇ Â÷¾×À» º¸»óÇØÁÖ´Â ÇÁ·Î±×·¥ÀÌ´Ù.
 
G5ÀÇ °æ¿ì, Ãâ°í°¡ 83¸¸ 6000¿ø¿¡¼­ ¡®New À½¼º¹«ÇÑ 59.9¡¯ ¿ä±ÝÁ¦·Î °¡ÀÔÇϸé ÇҺοø±Ý 67¸¸ 8000¿øÀÇ ¹Ý°ªÀÎ 33¸¸ 9000¿øÀ¸·Î Áñ±æ ¼ö ÀÖÀ¸¸ç ¡®New À½¼º¹«ÇÑ 29.9¡¯ ¿ä±ÝÁ¦·Î °¡ÀÔÇϸé ÇҺοø±Ý 75¸¸7000¿øÀÇ ¹Ý°ªÀÎ 37¸¸ 8500¿øÀ¸·Î HŬ·´À» ÀÌ¿ëÇÒ ¼ö ÀÖ´Ù.
 
G5´Â ¼¼°è ÃÖÃÊ ¸ÅÁ÷ ½½·Ô(¸ðµâ ¹æ½Ä)À» Àû¿ëÇØ µðÀÚÀΰú Æí¸®ÇÔÀ» ¸ðµÎ ÀâÀº ½º¸¶Æ®ÆùÀ¸·Î Ä÷ÄÄÀÇ ÃֽŠCPUÀÎ ½º³Àµå·¡°ï 820À» žÀçÇØ 360µµ »çÁøÀ̳ª VR ¿µ»ó ÃÔ¿µ, VR °ÔÀÓ µîÀ» ¿øÈ°È÷ Áö¿øÇÑ´Ù.
 
G5¿Í ¿¬µ¿ÀÌ µÅ ´õ ¸¹Àº Àç¹Ì¸¦ ¼±»çÇÏ´Â ÇÁ·»Áî¿¡´Â Ä«¸Þ¶ó ±×¸³ ¸ðµâ ¡¯Ä· Ç÷¯½º¡¯, Ȩ ¸ð´ÏÅ͸µ Ä«¸Þ¶ó ¡¯·Ñ¸µº¿¡¯, °íǰÁú ¿Àµð¿À ¸ðµâ ¡¯ÇÏÀÌÆÄÀÌ Ç÷¯½º¡¯, ÇÏÀÌ¿£µå À̾îÆù ¡¯H3 by B&O PLAY¡¯, ¸ð¹ÙÀÏ Àü¿ë VR ±â±â ¡¯360 VR¡¯, 360µµ Ä«¸Þ¶ó ¡¯360 Ä·¡¯ µîÀÌ ÀÖ´Ù. »ö»óÀº °ñµå, ÇÎÅ©, ½Ç¹ö, Ƽź ÃÑ 4°¡Áö·Î Ãâ½ÃµÈ´Ù.
 
LGÀ¯Ç÷¯½º´Â G5¿¡ ´Ù¿î¸µÅ© 256Äæ(QAM, Quadrature Amplitude Modulation) ±â¼úÀ» Àû¿ëÇØ °í°´µéÀÌ 3¹êµå LTE-A¸¦ 400MbpsÀÇ ºü¸¥ ¼Óµµ·Î ÀÌ¿ëÇÒ ¼ö ÀÖ°Ô Çß´Ù. °í°´µéÀº LTEºñµð¿À Æ÷ÅÐÀÇ 360µµ VR ¿µ»ó, UHD µ¿¿µ»ó ¹× ÆÄ¿öÀ¯Æ©¹ö µîÀÇ °í¿ë·® ÄÜÅÙÃ÷¸¦ ²÷±èÀ̳ª ¹öÆÛ¸µ ¾øÀÌ ÀÚÀ¯·Ó°Ô ÀÌ¿ëÇÒ ¼ö ÀÖ´Ù. 
 
* Âü°í (G5 ÇÁ·»Áî °¡°Ý)

±â±â¸í

°¡°Ý(VATÆ÷ÇÔ)

±â±â ¿ëµµ

Cam Plus (Ä· Ç÷¯½º)

99,000¿ø

Ä«¸Þ¶ó ±×¸³ ¸ðµâ

Hi-Fi Plus (ÇÏÀÌÆÄÀÌ Ç÷¯½º

189,000¿ø

°íǰÁú ¿Àµð¿À ¸ðµâ

360 Cam

299,000¿ø

360µµ Ä«¸Þ¶ó

360 VR

299,000¿ø

¸ð¹ÙÀÏ Àü¿ë VR ±â±â

Tone+(Åæ Ç÷¯½º)

219,000¿ø

ºí·çÅõ½º À̾îÆù


ÄÚ¸àÆ® | °ü·Ã±Û ½ºÅ©·¦(0) | ¼öÁ¤ | »èÁ¦
óÀ½À¸·Î  ÀÌÀüÆäÀÌÁö   ... [3141] [3142] [3143] [3144] [3145] [3146] [3147] [3148] 3149 [3150] ...  ´ÙÀ½ÆäÀÌÁö  ¸¶Áö¸·ÆäÀÌÁö