| canon, »ó¸é À§»óÂ÷ AF¸¦ DSLR ¿¬»ç»ç¿ë °ü·Ã ƯÇã | | 2014³â 09¿ù 01ÀÏ 22:09 |
| http://blog.photovill.com//80402 | |
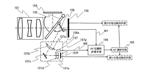
![]() egami.blog.so-net.ne.jp¿¡ canonÀÇ »ó¸é À§»óÂ÷ AF ¿¬»ç ±â¼ú¿¡ ´ëÇÑ Æ¯Çã°¡ °ÔÀçµÇ¾ú´Ù. ÀÌ Æ¯Çã´Â DSLR Ä«¸Þ¶ó ¿¬»ç¿¡¼ ù¹øÂ°·Î´Â À§»óÂ÷ AF·Î ±×¸®°í µÎ¹øÂ° ÀÌÈÄ¿¡´Â »ó¸é À§»óÂ÷ AF¸¦ »ç¿ëÇÏ¿© °í¼ÓÈ¿Í °í Á¤¹ÐÈ ¸ðµÎ¸¦ ¿Ïº®ÇÏ°Ô ÇÏ´Â ±â¼úÀÌ´Ù. ù¹øÂ° ¼¦¿¡¼´Â À§»óÂ÷ AF¸¦ »ç¿ë, µÎ¹øÂ° ¼¦ ÀÌÈÄ¿£ »ó¸é À§»óÂ÷ AF¸¦ »ç¿ëÇÑ´Ù. |
|
| ÄÚ¸àÆ® | °ü·Ã±Û | ½ºÅ©·¦(0) | ¼öÁ¤ | »èÁ¦ |
| LG, Àú°¡ ½º¸¶Æ®Æù L60 ·¯½Ã¾Æ Ãâ½Ã | | 2014³â 09¿ù 01ÀÏ 22:03 |
| http://blog.photovill.com//80401 | |
![]() LG´Â Àú°¡Çü ½º¸¶Æ®Æù L60À» ·¯½Ã¾Æ¿¡ Ãâ½ÃÇß½À´Ï´Ù. ½ºÆåÀº 4.3ÀÎÄ¡ WVGA TFT, 5MP Èĸé / 0.3MP Àü¸é Ä«¸Þ¶ó, 1.3Ghz µà¾óÄÚ¾î, 512MB RAM, 4GB ½ºÅ丮Áö, ¾Èµå·ÎÀ̵å 4.4.2, 1540mAh ¹èÅ͸®, µà¾ó½É µîÀÔ´Ï´Ù. |
|
| ÄÚ¸àÆ® | °ü·Ã±Û | ½ºÅ©·¦(0) | ¼öÁ¤ | »èÁ¦ |
| LGÀüÀÚ, 2015³âÇü 'µð¿À½º ±èÄ¡ÅåÅå' ±èÄ¡³ÃÀå°í Ãâ½Ã | | 2014³â 09¿ù 01ÀÏ 22:00 |
| http://blog.photovill.com//80400 | |
![]() LGÀüÀÚ(066570, www.lge.co.kr)°¡ 2015³âÇü ¡®µð¿À½º ±èÄ¡ÅåÅ塯 ±èÄ¡³ÃÀå°í ½ÅÁ¦Ç°À» ´ë°Å Ãâ½ÃÇÑ´Ù. LGÀüÀÚ´Â ½ºÅĵå/¶Ñ²± ŸÀÔ ½ÅÁ¦Ç° ÃÑ 37Á¾ ¸ðµ¨À» ³»¼¼¿ö ±èÀåö ¼º¼ö±â ½ÃÀå °ø·«¿¡ ³ª¼±´Ù. »õ·Ó°Ô Ãâ½ÃÇÏ´Â ½ºÅÄµå ±èÄ¡³ÃÀå°í(¸ðµ¨¸í:R-D574PBAW)´Â Èò»ö ¹°°á ¹®¾çÀÇ ¡®¾Æ¸®¾Æ ÈÀÌÆ®¡¯ µðÀÚÀÎÀ¸·Î °í±Þ°¨À» °Á¶ÇÑ 565¸®ÅÍ ´ë¿ë·® Á¦Ç°ÀÌ´Ù. 2015³â LG ¡®µð¿À½º ±èÄ¡ÅåÅ塯Àº ±èÄ¡¸¦ ¸ÀÀÖ°Ô ¿À·¡ ¸ÔÀ» ¼ö ÀÖ´Â ¡®210ÀÏ À¯»ê±Õ Å×Å©³î·ÎÁö¡¯¸¦ Àû¿ëÇß´Ù. ¡ã±èÄ¡ ¸ÀÀ» °áÁ¤ Áþ´Â À¯»ê±ÕÀ» 9¹è ´õ ¸¹ÀÌ ¸¸µé¾îÁÖ´Â ¡®À¯»ê±Õ ±èÄ¡¡¯ ¡ã6ºÐ¸¶´Ù ³Ã±â¸¦ »Õ¾î³» ¿Âµµ ÆíÂ÷¸¦ ÁÙÀÌ´Â ¡®Äð¸µÄɾ ¡ã¼¶øÀ» ÁÂ/¿ìÄÀ¸·Î ³ª´©°í °¢°¢ ¶Ñ²±À» ´õÇØ ³Ã±â ¼Õ½ÇÀ» ÃÖ¼ÒÈÇÑ ±¹³» À¯ÀÏÀÇ ¡®Æ®À© ¹ÐÆó¶ô¡¯ ¡ã¼¶ø ¹®À» ¿©´ÝÀ» ¶§ »õ´Â ³Ã±â±îÁö Àâ¾ÆÁÖ´Â ¡®³Ã±âÁöÅ´°¡µå¡¯ ¡ãÇÏ·ç 3¹ø, 40ºÐ¾¿ ±Þ³ÃÀ¸·Î ±èÄ¡¸¦ 210ÀϱîÁö ¸ÀÀÖ°Ô º¸°üÇÒ ¼ö ÀÖ´Â ¡®210ÀÏ ¿À·¡º¸°ü¡¯ ±â´É µîÀ» žÀçÇß´Ù. ¶ÇÇÑ, LGÀüÀÚ´Â µ¿ÀÏÇÑ ¼ÒÀç, »ö»ó, ÇÚµé¹Ù ½ºÅ¸ÀÏ µî ÀÏü°¨À» ÁÖ´Â µðÀÚÀÎÀ¸·Î ±ò²ûÇÑ ÁÖ¹æÀ» ¿¬ÃâÇÒ ¼ö ÀÖµµ·Ï À̹ø ½ÅÁ¦Ç°¿¡ ±âÁ¸ ¾ç¹®Çü ³ÃÀå°í¿Í ÅëÀÏµÈ µðÀÚÀÎÀ» Àû¿ëÇß´Ù. À̿ܿ¡µµ ±âÁ¸ ½ºÅĵå ŸÀÔ¿¡¸¸ Àû¿ëÇß´ø ¡®À¯»ê±Õ ±èÄ¡¡¯ ±â´ÉÀ» ¶Ñ²±½Ä 219¸®ÅÍ ¿ë·® Àü Á¦Ç°À¸·Î È®´ëÇß´Ù. LGÀüÀÚ´Â 131¸®ÅͺÎÅÍ 836¸®ÅÍ ¿ë·®¿¡ À̸£´Â ¶Ñ²±½Ä 15Á¾, ½ºÅĵå 22Á¾À» 9¿ù ÃʱîÁö ¼øÂ÷ Ãâ½ÃÇÑ´Ù. ÃâÇϰ¡ ±âÁØ 60¸¸¿ø~415¸¸¿øÀÌ´Ù. ÀÌ¿Í ÇÔ²² 9¿ù ¸»±îÁö ±èÄ¡³ÃÀå°í ±¸ÀÔ ¸ðµ¨º°·Î ij½Ã¹é ÃÖ´ë 10¸¸¿ø, ÁÖ¹æ¿ëǰ µîÀ» Á¦°øÇÑ´Ù. LGÀüÀÚ Çѱ¹¿µ¾÷º»ºÎÀå ÃÖ»ó±Ô ºÎ»çÀåÀº ¡°±ò²ûÇÑ ÁÖ¹æÀ» À§ÇÑ µðÀÚÀΰú ±èÄ¡ ¸ÀÀ» °áÁ¤ Áþ´Â ¶Ù¾î³ À¯»ê±Õ °ü¸® ±â´ÉÀ¸·Î ¿ÃÇØ ±èÄ¡³ÃÀå°í ½ÃÀåÀ» ¼±µµÇÒ °Í¡±À̶ó°í °Á¶Çß´Ù. |
|
| ÄÚ¸àÆ® | °ü·Ã±Û | ½ºÅ©·¦(0) | ¼öÁ¤ | »èÁ¦ |
| | ... [4431] [4432] [4433] [4434] [4435] [4436] [4437] [4438] [4439] 4440... | | |